垃圾焚烧炉是垃圾焚烧发电厂的心脏,其性能直接影响垃圾焚烧处理的综合排放指标和全套设备的运转率。目前以机械炉排焚烧炉的应用最为广泛。其基本工作原理是垃圾通过进料斗进入炉排,炉排分为干燥区、燃烧区、燃尽区,垃圾依次通过炉排上的各个区域,直至燃尽排出炉排。

燃烧空气从炉排下部进入与垃圾混合,燃烧后的烟气通过锅炉的受热面,加热过热蒸汽,而同时被冷却的烟气经过净化处理排出。高温腐蚀、二恶英污染和重金属粉尘污染是垃圾焚烧过程中存在的3大主要问题。
对锅炉的过热器而言,烟气成分、烟气温度等因素对其造成的腐蚀远高于一般常规锅炉,为达到防腐的要求,通常采用提高钢材等级方法,使得设备造价大幅度增长。本文通过具体案例,分析过热器腐蚀的原因,进而提出相应的改造维修建议和预防过热器腐蚀的措施,促进垃圾焚烧锅炉安全运行。
1概述
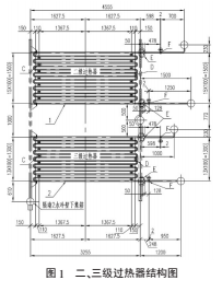
厦门市某垃圾焚烧发电厂2台锅炉,由无锡某锅炉有限公司制造,锅炉型号为:UG-300-23.53/4.0/400-W,锅炉额定出口压力为4.0MPa,额定出口温度为400℃,额定蒸发量为23.53t/h,于2010年11月制造,2013年投入运行,至今累计运行2万多h。日处理垃圾量2×300t/d;装机容量1×12MW余热炉型,中压自然循环单汽包,W型布置立式。其过热器结构形式如下:过热器由低温段的一级过热器、中温段的二级过热器和高温段的三级过热器组成并布置在第3通道内(见图1),2级喷水减温器布置在2过热器之间。

饱和蒸汽进入一级过热器入口集箱,再进入由44排38mm×4mm管子组成的一级过热器,蒸汽经过一级喷水减温器后引入到二级过热器的入口集箱,再进入由44排34mm×4.5mm管子组成的二级过热器,然后蒸汽经过二级喷水减温器后进入三级过热器入口集箱,再进入由37排34mm×4.5mm管子组成的三级过热器,最后过热蒸汽进入集汽集箱。
二级过热器和三级过热器管子的材料为12Cr1MoVG,一级过热器管子的材料为20G/GB5310,一、二级过热器横向节距为120mm,三级过热器横向节距为145mm。过热器管子和集箱均支撑在水冷壁上,与水冷壁一起向上膨胀。
二、三级过热器的梳形板支架的材质为06Cr25Ni20。锅炉的烟气流程为:炉膛→冷却室1→冷却室2→凝渣管→三级过热器→二级过热器→一级过热器→省煤器。部件特性详见表1。

2016年10月锅炉首次内部检验时发现锅炉三级、二级过热器管子表面存在大面积腐蚀、氧化现象,梳形板位置的管子外表面存在局部腐蚀凹坑。腐蚀、氧化最严重部位为三级过热器从下往上数第1排,其最小剩余壁厚为3.0mm,最大腐蚀凹坑深1.5mm。锅炉三级、二级过热器管排的托架、梳形板沿烟气方向腐蚀减薄严重,部分变形、脱落(详见图2)。锅炉使用至2017年4月,腐蚀情况进一步加剧。

2腐蚀原因分析
(1)高温腐蚀。垃圾焚烧锅炉过热器的高温腐蚀过程一般是经过纯气体腐蚀、熔盐腐蚀、固相附着物参与的气体腐蚀、腐蚀气体参与的熔盐腐蚀等一系列复杂的、持续的腐蚀反应。垃圾焚烧产生的高温烟气中含有大量的HCl、Cl2及SO3等腐蚀性气体,致使过热器管产生明显腐蚀。高温腐蚀主要是HCl、Cl2及SO3等腐蚀性气体对管壁的直接和间接腐蚀,以及焦硫酸盐和碱金属对管壁的熔盐腐蚀。
氯化物和氯气对过热器管壁的腐蚀机理如下:HCl溶于焦硫酸盐中,破坏管壁氧化膜和金属。
Fe2O3+6HCl→2FeCl3+3H2O
腐蚀产物与其它氯化物(RCl)一起渗入熔池,当接触到管壁,发生下列反应:
Fe+2FeCl3→3FeCl2
4FeCl3+3O2→2Fe2O3+6Cl2↑
同时,烟气中的氯气也具有很强的氧化性,与管壁金属及氯化物作用发生如下反应:
Cl2+2FeCl2→2FeCl3
2Fe+3Cl2→2FeCl3
此外,HCl进入溶池还可能与金属发生下列反应:
Fe+2HCl→FeCl2+H2↑
FeO+2HCl→FeCl2+H2O
腐蚀产物中FeCl3的熔点为303℃,能显著挥发。只要
HCl、Cl2和O2得到不断补充,腐蚀反应就一直会进行下去。
随管壁温度升高,腐蚀反应越剧烈,以上反应在管壁温度为400~600℃时最为活跃。
除此之外,处于垃圾焚烧环境中的金属材料,其表面上粘附堆积的粉尘中除金属氧化物外,还含有高浓度的碱金属、碱土金属和其他重金属的氯化物和硫酸盐,其中PbCl2、ZnCl2和SnCl2都是低熔点的氯化物,其他的氯化物如NaCl、KCl和FeCl2熔点虽不太低,但可与其他物质结合形成低熔点的共晶混合物,大大增加了高温部件金属材料的腐蚀速率。
该锅炉烟气从冷却室2经过凝渣管到三级过热器入口处时烟气温度为623℃;二级过热器入口处烟气温度为544℃;管内蒸汽温度为400℃。此时管壁温度正处于腐蚀反应最活跃的温度区间400~600℃,因此加剧了腐蚀反应的进行。另外,在托架附近,由于燃烧积灰附着在金属上,存在熔盐腐蚀,破坏金属氧化膜,造成腐蚀持续进行。
(2)电化学腐蚀。锅炉的二级、三级过热器系统的梳形板支架的材质为06Cr25Ni20,不锈钢由于含有镍、铬等金属而变得不活泼,电极电位高于普通碳钢。但当不锈钢与碳钢接触时,就可形成一个电化学原电池。在这个原电池里,碳钢是负极,不锈钢是正极。于是碳钢会因不锈钢的接触加速氧化而腐蚀。所以,过热器管子与不锈钢托架接触的部位附近腐蚀最严重。
(3)锅炉设计不合理。该锅炉三级过热器位于凝渣管上方位置,烟气由冷却室2经过凝渣管转弯往三级过热器入口时直接冲向三级过热器支撑处,锅炉结构设计存在不合理(图3),导致烟气偏斜集中,造成该位置热量最集中,锅炉腐蚀最严重;同时,该位置向火侧遭受烟气冲刷。在腐蚀和烟气冲刷的双重作用下,导致腐蚀程度加剧。

3改造维修建议
针对这2台锅炉存在的问题,建议使用单位请具有相应资质的锅炉制造单位、改造维修单位出具改造、维修方案,更换二级、三级过热器全部管屏及梳形板、托架;改造锅炉凝渣管。
(1)对锅炉原设的三级过热器管进行切除、更换,焊口为炉外侧靠近集箱处。三级过热器管子材质:12Cr1MoVG,规格为:34mm×4.5mm,新过热器管屏结构不变。
(2)更换锅炉三级过热器管束的疏形板、托架及过热器穿墙处的密封板等附件。
(3)改变锅炉烟气冷却室的保温材料,增加冷却室的吸收热量,降低烟气出口温度。
(4)改造凝渣管,调整烟气流方向,使烟气流大部分冲向第三通道中部,从而避免烟气流正面冲向三级过热器支座的状况,减少烟气对过热器支座的腐蚀。
(5)增加凝渣管换热管子的数量,从而降低烟气进入过热器系统的温度,消除和减少可能发生的高温腐蚀现象。改造后的热力计算汇总表,见表2。

4预防腐蚀措施
针对垃圾焚烧锅炉过热器腐蚀原因,提出以下建议和措施:
(1)可考虑采用Ca基吸收剂[如Ca(OH)2、CaCO3等]对垃圾焚烧生成的大量HCl和Cl2进行吸收。
(2)在过热器管外壁进行热喷涂耐腐蚀金属涂层或耐高温防腐蚀涂层,防止由于Cl、S等元素导致过热器管外壁的快速腐蚀。
(3)采用耐腐蚀高温合金钢。解决过热器高温腐蚀现象,如果用高Cr钢作为受热面管子的材料,在高Cr钢材料表面会形成致密的氧化膜Cr2O3,其具有良好的耐熔融硫酸盐的腐蚀性能。
(4)可以通过改变锅炉结构型式和受热面布置位置,以控制进入过热器的烟气温度,使过热器管壁温避开高温腐蚀严重区域,在一定限度内降低腐蚀反应速度,从而减轻高温腐蚀;同时合理控制烟气流动,从而强化传热并减轻过热器积灰腐蚀。
综上所述,根据垃圾焚烧余热锅炉的实际情况,采取相应的预防措施,可以有效减轻过热器腐蚀,促进锅炉安全经济运行。
来源:能源与环境 徐火力
                    
                        
                            特此声明:
                            
                            1. 本网转载并注明自其他来源的作品,目的在于传递更多信息,并不代表本网赞同其观点。
                            
                            2. 请文章来源方确保投稿文章内容及其附属图片无版权争议问题,如发生涉及内容、版权等问题,文章来源方自负相关法律责任。
                            
                            3. 如涉及作品内容、版权等问题,请在作品发表之日内起一周内与本网联系,否则视为放弃相关权益。